M-takapuskuri odottaa nyt maalattuna varastossa. Diffuserin hankin jo siihen alaosaan, mutta tarviiko vielä jotain muita osia ennen asennusta? Vanhasta puskurista otetaan se runko tuohon uuteen puskuriin, mutta tuleeko jotain muuta? Asennus vinkkejä?
E39 M-sport takapuskurin asennus?
Collapse
X
-
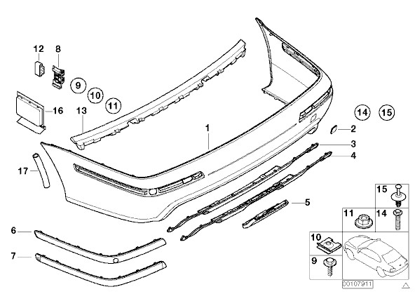
Ei oikeastaan muuta... Voisi olla tietysti uudet klipsit kuvassa nro 15. Onko puskurissa ns. diffun jäykistäjä? jos ei ole, sellainen olisi hyvä olla, ettei diffu heilu...Originally posted by S.P.R View PostM-takapuskuri odottaa nyt maalattuna varastossa. Diffuserin hankin jo siihen alaosaan, mutta tarviiko vielä jotain muita osia ennen asennusta? Vanhasta puskurista otetaan se runko tuohon uuteen puskuriin, mutta tuleeko jotain muuta? Asennus vinkkejä?Vikaluku/koodaus/ohjelmointi/Uusimmat navikartat
Laitekorjaus ja -asennus -> MK3, MK4, BM24, BM54, MID, LOGIC 7 sekä CIC/NBT, navinäytöt ja vahvistimet.
SISUSTAT modaukset
-
Originally posted by buksin-1 View PostEi oikeastaan muuta... Voisi olla tietysti uudet klipsit kuvassa nro 15. Onko puskurissa ns. diffun jäykistäjä? jos ei ole, sellainen olisi hyvä olla, ettei diffu heilu...
Hmm, mikäs se sellainen on ja mihin se tulee?
Tossa on kuva siitä puskurin keskiosasta. Luulin että se diffu kiinnittyy siihen keskellä näkyvään juttuun.
Toisessa kuvassa on sellainen neliskanttinen kolo, tuleeko siihen mitään "vastakappaletta" kiinnitystä varten? Kiitos taas!
Saako normipuskurin hinauskoukunpeitelevyä käymään m-puskuriin? Näytti olevan eri osanumerolla...
Comment
-
Originally posted by S.P.R View PostHmm, mikäs se sellainen on ja mihin se tulee?
Tossa on kuva siitä puskurin keskiosasta. Luulin että se diffu kiinnittyy siihen keskellä näkyvään juttuun.
Toisessa kuvassa on sellainen neliskanttinen kolo, tuleeko siihen mitään "vastakappaletta" kiinnitystä varten? Kiitos taas!
Saako normipuskurin hinauskoukunpeitelevyä käymään m-puskuriin? Näytti olevan eri osanumerolla...
Kuvan mukaan siinä on jo sellainen jäykistäjä! Neliskantiseen koloon ei tule mitään, vaan se toimii kiskona. Hinauspeitelevy pitää olla M:n oma.Vikaluku/koodaus/ohjelmointi/Uusimmat navikartat
Laitekorjaus ja -asennus -> MK3, MK4, BM24, BM54, MID, LOGIC 7 sekä CIC/NBT, navinäytöt ja vahvistimet.
SISUSTAT modaukset
Comment
Comment